185
gensignal aufgehoben. Das elektropneumatische Äquivalent besteht aus einem dop-
peltwirkenden Zylinder, der von einem bistabilen 5/2-Wegeventil angesteuert wird.
Anstelle der beiden 3/2-Wegeventile kommen zwei Taster zum Einsatz.
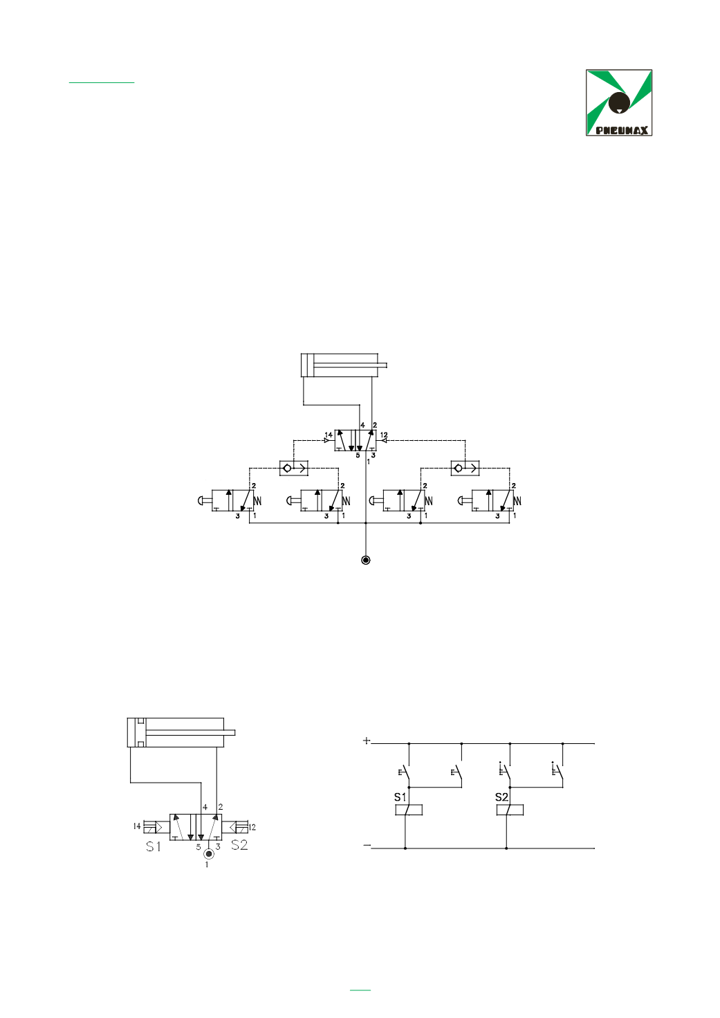
Ist mehr als ein Steueranschluss vorhanden, von dem aus dieselben Befehle an den Zy-
linder erteilt werden, so müssen die Ventile, die denselben Befehl ausgegeben, parallel
zueinander geschaltet werden.
Das Ausgangssignal jedes Ventils wird dann an die Steueranschlüsse eines Wechsel-
ventils gesendet, das auswählt, welches Signal zur Ansteuerung des Leistungsventils
des Zylinders verwendet wird.
Das Wechselventil sorgt dafür, dass Druckluft vom Ausgang eines der beiden Steu-
erventile direkt zum Entlüftungsanschluss des zweiten, parallel geschalteten Ventils
durchströmen kann.
Man kann das Prinzip mit einer Tür vergleichen, die von zwei verschiedenen Stellen
aus geschlossen und geöffnet werden soll. Auf der Abbildung sind die beiden Punkte
zum „Öffnen“ und „Schließen“ der besseren Übersichtlichkeit halber rechts bzw. links
angeordnet. In Wirklichkeit sind sie auf beiden Seiten der Tür mit jeweils einem Öff-
nungs- und Schließpunkt über Kreuz angeordnet.
In der elektropneumatischen Ausführung wird kein Wechselventil benötigt, da bei der
Verwendung elektrischer Signalen nicht das Problem besteht, dass die Entlüftungsan-
schlüsse belegt werden könnten.
Die Taster werden einfach parallel geschaltet.
Auch in dieser Anordnung unterdrückt die Präsenz eines Signals das entsprechende
Gegensignal. Dies gilt sowohl für die pneumatische als auch für die elektrische Aus-
führung.
225
Ipotizziamo di dovere chiudere ed aprire un porta da due differenti punti.
Come si vede dallo schema, i punti di “ apri “ e “ chiudi “ sono posti, per favorire la
lettura dello sch ma i modo pulito, risp ttivamente sul lato destro e sul lato sinistro.
In realtà saranno incrociati sui due versanti della porta con un “ apri “ ed un “chiudi”.
Nella versione elettropneumatica il selettore non è necessario perché non dobbiamo
preoccuparci, in presenza di segnali elettrici, di inibire la via di scarico.
I pulsanti elettrici sono semplicemente collegati in parallelo.
Anche in questo caso il permanere di uno qualsiasi dei comandi inibisce il segnale
opposto sia nella versione pneumatica che in quella elettrica.
225
Ipotizziamo di dovere chiudere ed aprire un porta da due differenti punti.
Come si vede dallo schema, i punti di “ apri “ e “ chiudi “ sono posti, per favorire la
lettura dello schema in modo pulito, rispettivamente sul lato destro e sul lato sinistro.
In realtà saranno incrociati sui due versanti della porta con un “ apri “ ed un “chiudi”.
Nella versione elettropneumatica il selettore non è necessario perché non dobbiamo
preoccuparci, in presenza di segnali elettrici, di inibire la via di scarico.
I pulsanti elettrici sono semplicemente collegati in p rallelo.
Anche in questo caso il permanere di uno qualsiasi dei comandi inibisce il segnale
opposto sia nella versione pneumatica che in quella elettrica.
Kapitel 21
Schaltungen
Schließen
Schließen
Schließen Schließen
Öffnen
Öffnen
Öffnen
Öffnen




